The grant of a patent gives the owner the right to take action against a third party performing an infringing act without their consent. It is the granted claims that define what falls within the scope of the patent. New areas of technology often attract aggressive patent filing strategies where it is the ambition of the patent applicant to obtain the broadest claims possible with each new innovation. Once the patent is granted, it is the responsibility of the patent owner to police it and take action or engage a third party in negotiations if they suspect patent infringement is occurring.
This article was first published in BEST Magazine and can be viewed here.
A third party infringes the patent if they perform an infringing act in relation to a product or process without the consent of the patent proprietor. It must be determined whether a product or process falls within the scope of the claims of a granted patent when assessing whether or not the product or process is an infringing one. Further, it must be determined if the infringing act is performed in the country in which a patent is in force. If the invention defined by the patent claims is a product, then the infringing acts typically include making, selling, offering for sale, or importing the patented product. If the invention defined by the patent claims is a process, such as a method of manufacture or assembly, the infringing acts include using the process or offering the process for use, or selling or importing the product obtained by the patented process.
A third party may also infringe a patent by supplying or offering to supply a person with any of the means, relating to an essential element of the invention, for putting the invention into effect when the third party knows (or it is obvious to a reasonable person), that those means are suitable for putting, and are intended to put, the invention into effect. For example, the patent claims may define a battery. However, the definition of the battery in the claims may include an inventive electrolyte composition. In such a case, it may be an infringement to supply the combination of chemicals or materials to create the electrolyte composition, even though the patent claims define the manufactured cell.
Also, having a patent yourself does not indemnify you from infringing the patent rights of another part. For example, you may have a patent for a new method of battery recycling. However, a part of that new recycling method may rely on a chemical process that is the subject of another patent. Accordingly, it is possible that you would need to negotiate an agreement with the proprietor of the chemical process patent to be able to exploit your patented recycling method.
Interest in solid-state battery technology is high and there are many companies filing large numbers of patent applications in this area. There are also large numbers of patents being granted. Looking at Figure 1, which shows the number of patents being granted worldwide each year over the last 10 years, the number of patents being granted in the field of solid-state since 2012 has increased 4.5x.
Figure 1

The patent process
Given the risks of performing an infringing act in new areas of technology, it is important to understand the patent application process.
Before the granted patent is obtained, a patent application is filed. The patent application sets out, in a “Claims” section, the protection the applicant wants to obtain. However, a patent application must be approved by the Patent Office in the country in which the application is filed before it is granted and therefore enforceable.
It is typical for a company or inventor to file a patent application with relatively broad claims. The application will include several examples and definitions of features that are deemed to be advantageous or preferable. The claims will try and cover variations of the materials, structure or methodology so that the inventive principles are captured, rather than a very specific example embodiment.
During examination of the patent application, an examiner at the Patent Office will be charged with assessing whether the invention, as defined in the claims, is new and inventive. A search of the prior art will be performed and, if the claims are assessed not to define an invention that is new and inventive, the applicant will be expected to narrow the claims until the examiner is satisfied that the claims define an invention that is clear, novel and inventive. If this is possible, the patent application can then be granted.
Fundamentally, the extent of the protection conferred by a patent is determined by the claims. The description and drawings are used to interpret the claims but understanding the definitions in the claims is key. As the scope of the protection is defined by the words of the claims, how the words are interpreted can impact the protection. Interpreting patent claims is a skill and obtaining advice on infringement is recommended. The courts around the world have established tests to evaluate infringement. However, in general, patent law has attempted to reach a balance between providing fair protection for the patent owner, by allowing patent claims to cover more than a strict literal interpretation, but also providing third parties with a reasonable degree of certainty when reading the claims and making comparisons between the definitions and their product or process.
Understanding the patent landscape
Monitoring competitors and evaluating risk when relevant patents are identified is key.
Patent watching services are available that can automatically look for granted rights and can provide regular reports for management. The scope of the watching service can be fine-tuned to ensure you are alerted to patents that could impact your part of the market.
Once aware of the patent rights that exist, the granted patent claims can be consulted to evaluate the risk. Sometimes, whether a product falls within the scope of a claim or avoids infringement turns on how a few words of the patent claims can be understood. In these cases the skills of a patent attorney, litigator or barrister in assessing how a court may rule on claim interpretation may be key.
When the likelihood of infringement is understood, the options for moving forward can be evaluated. For example, it may be necessary to approach the patent owner to obtain a licence under the patent. Alternatively, advice can also be sought on how to change the design of the product or steps in a process to avoid infringement.
Solid-state patents
Mining the patent databases for granted patents can help you evaluate risk. It can also provide insight into which companies are achieving successful outcomes with their patent filing strategy.
The patent proprietors having success in solid-state technology can be identified by looking at the patent classifications that relate to the solid-state cells and have achieved a granted patent in at least one Patent Office around the world. Figure 2 shows that Toyota is head and shoulders above its competitors in this area. LG, Samsung, Murata and Panasonic have the next highest numbers of granted patent rights.
Figure 2

What patents does Toyota have in the field of solid-state?
US Patent 10,424,811 B2 was granted by the US Patent and Trademark Office on 24 September 2019 and states “An object of the present disclosure is to provide a solid electrolyte material with excellent ion conductivity at a low temperature.”
The text explains the technical problem as “In laminate-type all-solid-state batteries, such as lithium ion batteries, during charging, in order for the lithium ions released from a positive electrode active material layer to move smoothly and reliably to a negative electrode active material layer, it is preferable that a negative electrode laminate comprising the negative electrode active material layer and a negative electrode current collector layer be formed so as to have an area which is larger than that of a positive electrode laminate comprising the positive electrode active material layer and a positive electrode current collector layer. Furthermore, in such laminate-type all-solid-state batteries, in order to extract the generated power to the outside, a positive electrode current collector protruding part and a negative electrode current collector protruding part, which protrude in the surface direction, of the positive electrode current collector layer and the negative electrode current collector layer, respectively, are provided so as to protrude from the same side surface of the laminate.
However, when bundling the positive electrode current collector protruding parts to extract electricity, there is a risk of short-circuit due to contact between the positive electrode current collector protruding parts and the edges of the negative electrode laminate, which is formed with an area larger than the positive electrode laminate. Furthermore, there is a risk of damage to the negative electrode laminate, which is formed with a larger area, due to the contact.”
The main claim of the US patent is relatively short and defines:
“A solid electrolyte material to be used for a fluoride ion battery, the solid electrolyte material comprising: a solid electrolyte particle including a crystal phase, that has a Tysonite structure and contains an F element, as a main phase; and CsF; and the CsF content in the solid electrolyte material is 50% by weight or less.”
If we compare the patent claim Toyota was attempting to get in the patent application to what was granted by the US Patent Office, we see that no amendment was necessary. They were granted exactly what they applied for.
While the previous patent related specifically to the materials of the electrolyte, a further recent granted patent addresses structural aspects of an all-solid-state battery laminate.
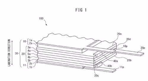
US Patent US 11,088,397 B2 granted on 10 August 2021 discloses an all-solid-state battery with the aim to “…provide an all-solid-state battery in which the occurrence of short-circuiting can be prevented and in which damage to the electrode can be prevented.”

The protection provided by claim 1, with reference numerals from the drawing added to aid understanding, is as follows:
“1. An all-solid-state battery, comprising: an all-solid-state battery laminate (30) in which at least one first electrode laminate (10, 11) and at least one second electrode-solid electrolyte laminate (20) are laminated, wherein the first electrode laminate comprises a first electrode current collector layer (1a, 1b) and a first electrode active material layer (2a) formed on at least one surface of the first electrode current collector layer, wherein the second electrode-solid electrolyte laminate comprises a second electrode current collector layer (5a), a second electrode active material layer (4a) formed on at least one surface of the second electrode current collector layer, and a solid electrolyte layer, wherein on a first side surface of the all-solid-state battery laminate, the first electrode current collector layer (1a, 1b) comprises a first electrode current collector protruding part (10p, 11p), which protrudes in a surface direction, and the second electrode current collector layer (5a) comprises a second electrode current collector protruding part (20p), which protrudes in a surface direction, wherein a surface direction area of the second electrode-solid electrolyte laminate (20) is larger than a surface direction area of the first electrode laminate (10, 11) and the first electrode laminate is laminated on the inside of the second electrode-solid electrolyte laminate when viewed from the lamination direction, and wherein on the first side surface, only an edge of the second electrode-solid electrolyte laminate in the surface direction is at least partially covered with a resin layer (40a, 40b, 41).”
If we compare the patent claim Toyota was attempting to get in their patent application to what was granted by the US Patent Office, we see that they only needed to add reference to the “solid electrolyte layer” to their claim. They therefore broadly obtained the scope of protection that they applied for.
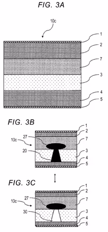
European Patent EP 3 654 435 B describes an all-solid lithium secondary battery which addresses issues around dendrite formation.
The document explains “Regarding lithium secondary batteries, it is known that, depending on the configuration and a manner of use of the battery, metallic lithium dendrites grow due to repeated charging and discharging and the like and reach a positive electrode active material layer from a negative electrode active material layer, which results in internal short circuiting.”
As stated in the patent the problem is made more worse because “…it is difficult to detect deterioration of a lithium secondary battery due to growth of metallic lithium dendrites until the metallic lithium dendrites reach the positive electrode active material layer and internal short circuiting occurs.”

Figures 3A and 3C provide a summary of the inventive principles.
“FIG. 3A is a schematic view of an all-solid lithium secondary battery 10c according to an embodiment of the present disclosure. … As shown in FIG. 3B , when the all-solid lithium secondary battery 10c is repeatedly charged and discharged, the dendrite 20 gradually grows from the side of the negative electrode active material layer 4 and reaches the metallic lithium absorption layer 7. The dendrite 20 that has reached the metallic lithium absorption layer 7 reacts with a metallic lithium reactive substance contained in the metallic lithium absorption layer 7 to generate a stable electron conductor 27 under battery charging and discharging conditions. Therefore, it is possible to restrict additional growth of the metallic lithium dendrite 20 toward the positive electrode active material layer. … In addition, as shown in FIG. 3C , since the electron conductor 27 is stable under battery charging and discharging conditions, no lithium ions are generated when the battery is discharged, and an irreversible capacity is generated. Therefore, when the dendrite 20 grows and reaches the metallic lithium absorption layer 7, the discharging capacity of the all-solid lithium secondary battery is significantly lower than the charging capacity.”
Claim 1 defines the scope of the patent as:
“1. An all-solid lithium secondary battery, comprising: a positive electrode active material layer (2); a metallic lithium absorption layer (7) containing a metallic lithium reactive substance; a first solid electrolyte layer (3); and a negative electrode active material layer (4) that is in contact with the first solid electrolyte layer (3), wherein the positive electrode active material layer (2), the metallic lithium absorption layer (7), the first solid electrolyte layer (3), and the negative electrode active material layer (4) are disposed in this order; and wherein the first solid electrolyte layer (3) of the all-solid lithium secondary battery contains a solid electrolyte; characterized in that the metallic lithium reactive substance contained in the metallic lithium absorption layer (7) reacts with metallic lithium to generate an electron conductor which is stable under charging and discharging conditions of the all-solid lithium secondary battery; and the solid electrolyte contained in the first solid electrolyte layer (3) is a crystalline or amorphous sulfide solid electrolyte or a crystalline or amorphous oxide solid electrolyte.”
The underlined portion of the claim shows the limitations that Toyota had to add to the claim in their patent application before the European Patent Office examiner was satisfied that the all-solid lithium secondary battery was novel and inventive.
The solid-state patent portfolio in front
Although we have reviewed only a few of the more recently granted patents, it is clear that the scope of Toyota’s research in this area is wide and the number of patents high.
The patents cover at least materials, battery structure and ways to detect and mitigate against deterioration during charging and discharging.
For a company operating in the field of solid-state cells, watching and assessing the scope of Toyota’s solid-state battery patent portfolio may be essential.



















.avif)
.jpg)

%203.jpg)
.jpg)
%20(1).jpg)


